下圖所示全自動熱成型包裝機,根據所能處理的薄膜寬度有多種規格型號,但是無論哪一種規格,其工作原理基本上是一樣的。
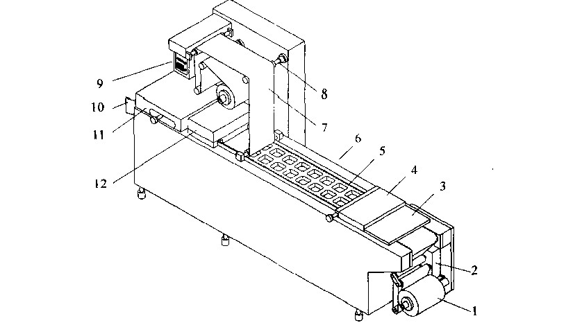
下圖所示是迅捷320全自動熱成型包裝機的外形圖,全自動熱成型包裝機由以下幾部分組成:薄膜輸送系統、上下膜導引部分、底膜預熱區、熱成型區、裝填區、熱封區、分切區及控制系統等組成。另配碎料及邊料回收裝置。整機采用模塊式結構設計,可根據用戶需要增減各種裝置,從而增減改變各種功能。與真空包裝機的工作原理區別很大。

全自動熱成型包裝機由于采用卷筒薄膜成型包裝,因此需要薄膜牽引輸送裝置。在工作中,底膜由預熱成型至封合分切的全過程中均受到夾持牽引作用,其動力來自沿機器縱向兩側配置的傳送鏈條。鏈條上每一節距均裝配有一個夾子,這些夾子可自動將底膜夾住并由始至終。傳送鏈條以連續步進的入式將底膜從機器始瑞送到終端。標準機型的鏈條由一個雙速三相電機驅動,進給時采用高速,在每個步進停止前自動切換成低速運行,使其能準確地停止在每個步進的終止位置。
作為選擇可采用步進電機驅動,實現電子控制無調速。這種驅動方式可使鏈條的運行速度在每個進給的起始階段均勻加速,而在終止階段逐步減速。采用這種驅動方式可避免在包裝圓形物體或液體時由于鏈條的快速起動或急速停止而使包裝物從托盤中波出或濺出。
相關文章:1.更換包裝機的注意事項